Toyota sta esplorando soluzioni non convenzionali per le future piattaforme elettriche, come emerge da due brevetti depositati nel 2025 e resi pubblici di recente. I documenti tecnici mostrano un approccio che si discosta dalla configurazione oggi dominante, basata su un grande pacco batterie integrato sotto il pianale, proponendo invece una distribuzione più flessibile dei principali componenti del sistema di trazione elettrica.
Toyota brevetta una nuova piattaforma per le auto elettriche

Il concetto consiste nella separazione funzionale tra batteria, motori elettrici e elettronica di potenza. Invece di concentrare tutto in un’unica area, Toyota ipotizza unità elettromeccaniche indipendenti che possono essere collocate in diverse zone del veicolo, ad esempio sugli assi o lungo un tunnel centrale. Questa soluzione consentirebbe di ridurre lo spessore del pacco batterie e migliorare la gestione degli spazi interni.
Una batteria meno ingombrante sotto il pianale permetterebbe di recuperare centimetri preziosi in altezza, offrendo maggiore libertà ai progettisti nella definizione delle proporzioni della carrozzeria. Ciò potrebbe tradursi in vetture elettriche più basse e aerodinamicamente efficienti, senza compromettere abitabilità e capacità di carico. Allo stesso tempo, la modularità della configurazione favorirebbe lo sviluppo di piattaforme multi-segmento adattabili a diverse tipologie di veicolo, dalle compatte ai SUV familiari, con evidenti vantaggi in termini di razionalizzazione industriale.

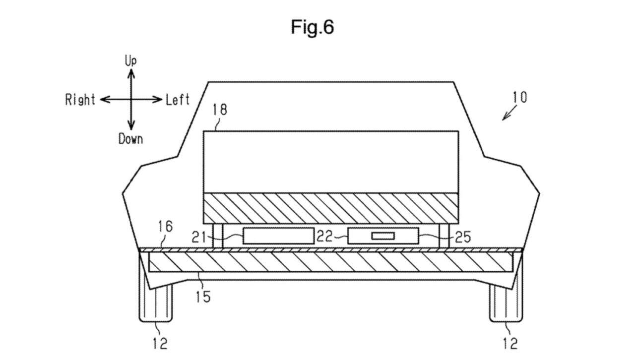
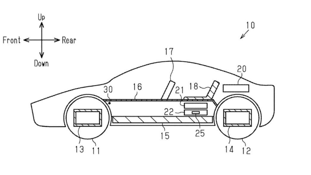
Uno dei brevetti suggerisce inoltre una diversa disposizione di alcuni elementi legati al sistema batteria, posizionati sotto la seduta posteriore tra il pacco principale e una delle unità di trazione. Questa configurazione consente una distribuzione più equilibrata delle masse, con effetti positivi sulla stabilità dinamica e sulla risposta del veicolo. Una migliore ripartizione dei componenti pesanti nel telaio permette infatti di ottimizzare il comportamento su strada e il bilanciamento complessivo.
L’architettura proposta potrebbe offrire anche benefici in termini di sicurezza passiva. Allontanare alcuni componenti sensibili dal pacco batterie ridurrebbe l’esposizione in caso di impatto, mentre la riduzione della lunghezza dei cablaggi contribuirebbe a contenere il peso complessivo e migliorare l’efficienza energetica.

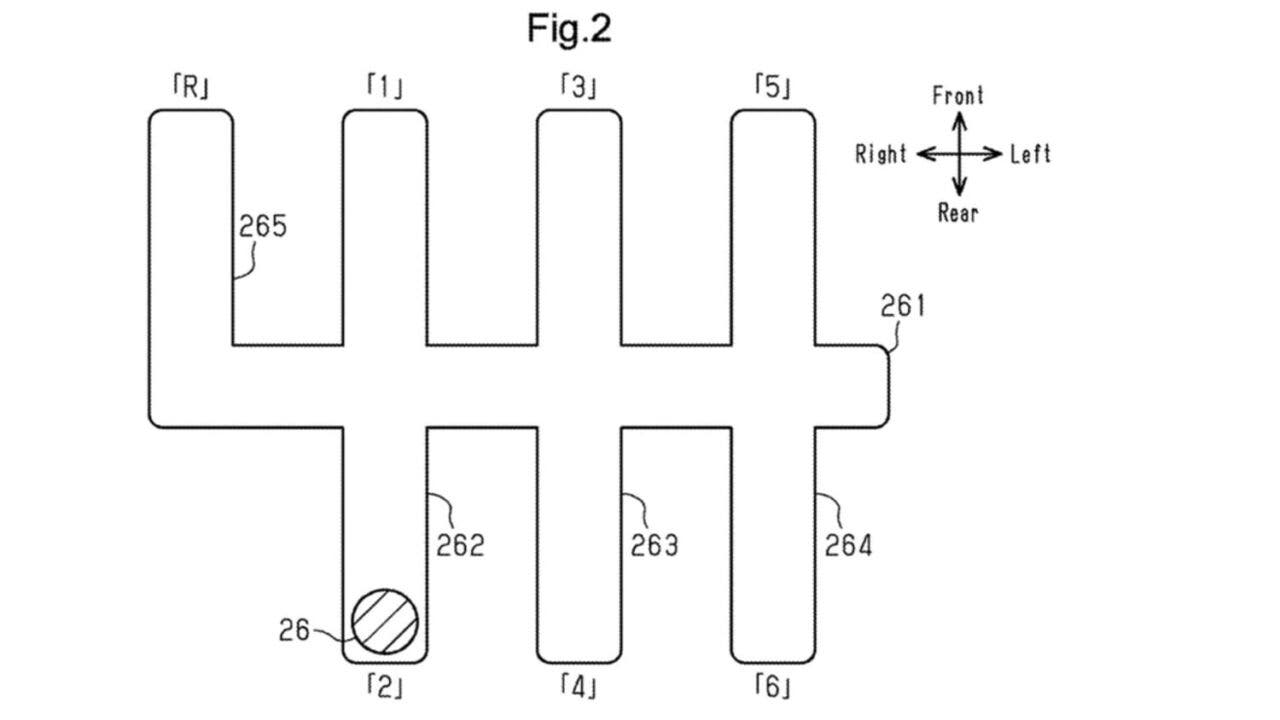
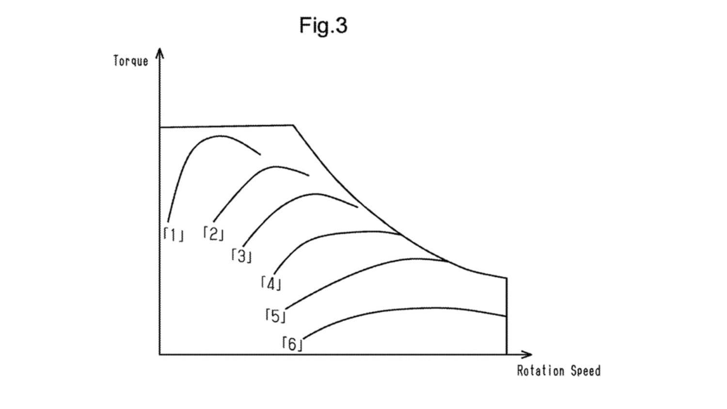
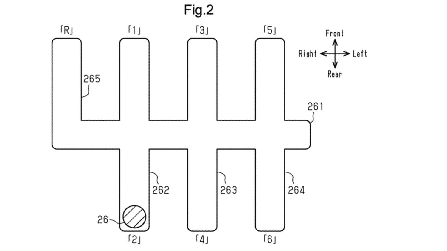
Questa linea di sviluppo si inserisce in un percorso tecnologico già avviato da Toyota, che dispone di una consolidata esperienza nelle configurazioni a doppio motore sui propri modelli elettrificati. I documenti citano anche sistemi sperimentali, come la simulazione del cambio manuale per veicoli elettrici, già testata su prototipi Lexus. Tra i firmatari dei brevetti figura Nanae Iwasaki, coinvolta anche in precedenti ricerche sulla gestione intelligente della ricarica in funzione delle condizioni operative di motori e inverter, segno di una strategia orientata a ottimizzare architettura, efficienza e dinamica delle future elettriche del gruppo. Toyota però non guarda soltanto all’elettrico, ma anche ai motori tradizionali, con lo sviluppo di un nuovo motore ad alte prestazioni.
