Toyota sa di non essere partita col piede giusto nell’elettrico. La bZ4X, il suo primo modello elettrico di nuova generazione, non era ancora al livello di rivali come Tesla e la casa giapponese lo ha ammesso subito. Ma invece di fermarsi ha continuato a lavorare, aggiornando il modello e promettendo per il 2028 una piattaforma completamente nuova e più evoluta sotto ogni aspetto.

A dare un primo assaggio di quello che bolle in pentola ci ha pensato una fuga di notizie legata a un brevetto depositato negli Stati Uniti. Il documento affronta uno dei problemi più ostici delle auto elettriche, ovvero quello dello spazio interno. Per avere più autonomia servono batterie più grandi, ma batterie più grandi significa avere meno spazio nell’abitacolo. È un circolo vizioso che oggi molti costruttori risolvono con compromessi poco eleganti, come moduli aggiuntivi che alzano i sedili posteriori rendendo scomode le seconde file.
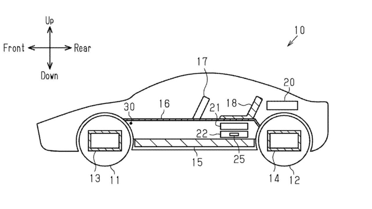
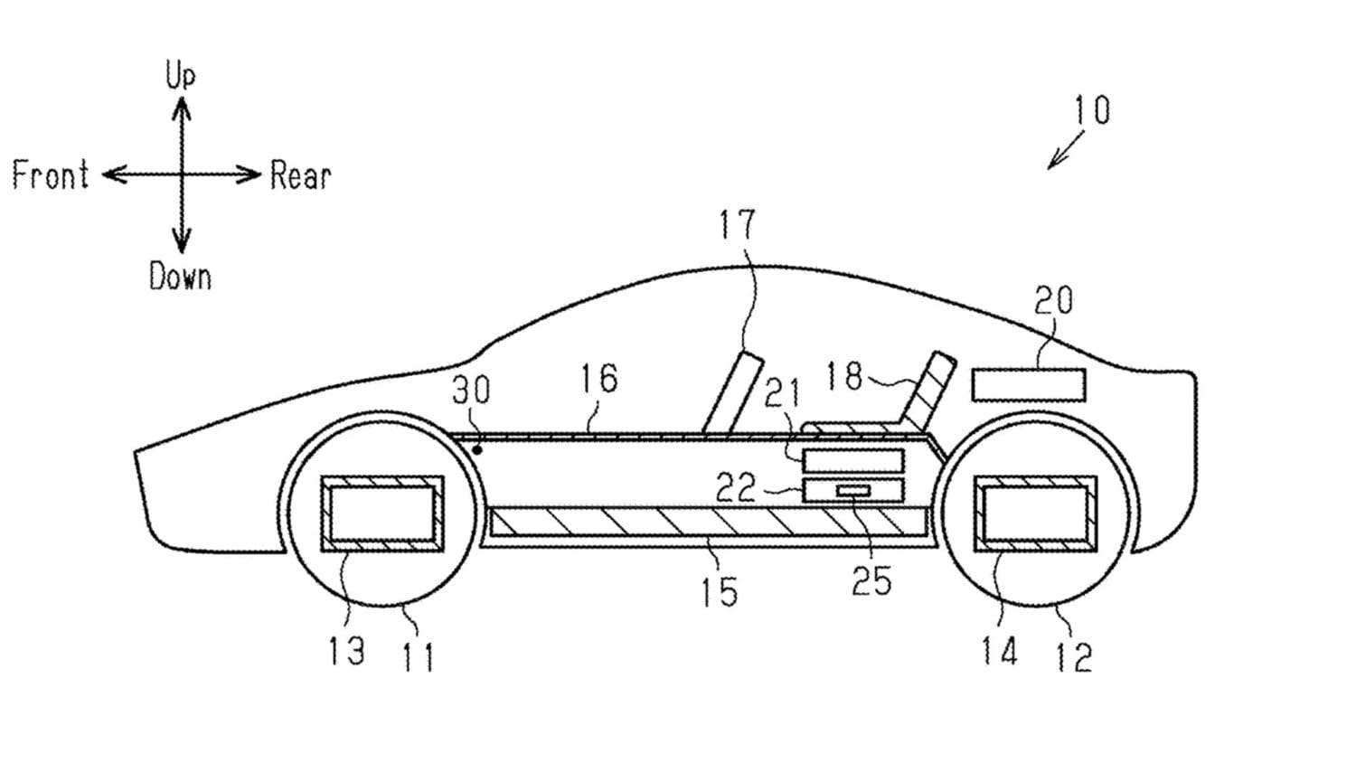
Toyota sta provando ad affrontare la questione in modo diverso, ripensando completamente la disposizione dei componenti sotto il pianale. Secondo il brevetto, la batteria resterebbe nel pianale come su qualsiasi altra auto elettrica, ma parte dell’elettronica di potenza e di altri elementi tecnici verrebbe spostata nella zona tra i sedili anteriori, senza però creare un vero tunnel di trasmissione come sulle auto termiche. Gli ingegneri Toyota sostengono che questa configurazione porterebbe con sé diversi vantaggi. I componenti più delicati sarebbero meglio protetti, i cablaggi si accorcerebbero riducendo il peso complessivo del veicolo e i sedili potrebbero essere posizionati più in basso, migliorando il baricentro e di conseguenza tutta la dinamica di guida. Anche la distribuzione dei pesi ne beneficerebbe, con effetti positivi sulla stabilità e sulle sensazioni al volante.

L’ambizione è costruire una piattaforma modulare capace di adattarsi a carrozzerie molto diverse tra loro senza dover ogni volta ripartire da zero. Se su un SUV lo spazio interno non è un problema particolarmente critico, su modelli più bassi e sportivi diventa una questione più importante, e il brevetto sembra pensato proprio per risolvere questo tipo di situazione. La nuova architettura potrebbe anche offrire più spazio per testa e gambe nella seconda fila e una gestione più flessibile del bagagliaio, due aspetti che nei futuri modelli familiari elettrici farebbero una differenza enorme.
Come sempre quando si parla di brevetti non c’è nessuna garanzia che tutto questo arrivi davvero alla produzione. Tuttavia, Toyota sta cercando di eliminare quei compromessi che oggi rendono molte elettriche meno pratiche e meno vivibili di quanto potrebbero essere, e se ci riuscirà la sua prossima generazione di auto a batteria potrebbe presentarsi sul mercato con un vantaggio rispetto alla concorrenza.
