Le auto scoperte come ad esempio la Ferrari Amalfi Spider hanno sempre avuto un fascino speciale. Guidare con il cielo sopra la testa, il vento nell’abitacolo e il suono del motore ben presente rende l’esperienza al volante qualcosa di unico, soprattutto su strade panoramiche o percorsi ricchi di curve. Eppure, dietro questo piacere ci sono da sempre alcuni limiti tecnici che hanno accompagnato il mondo delle cabrio fin dagli anni Sessanta, quando in alcuni mercati si arrivò perfino a ipotizzare uno stop alla loro commercializzazione per motivi di sicurezza.
Per le Targa un brevetto Ferrari delinea una soluzione più sofisticata rispetto ai soliti deflettori antivento imbullonati
Le preoccupazioni non erano del tutto infondate. In caso di ribaltamento, infatti, una vettura priva di tetto fisso offre inevitabilmente una protezione inferiore rispetto a una coupé o a una berlina tradizionale. Proprio in quel contesto nacque la Porsche 911 Targa, pensata come risposta concreta a quei timori: tettuccio removibile, lunotto fisso e soprattutto una barra strutturale centrale capace di garantire maggiore sicurezza senza rinunciare al piacere della guida open-air.
Ma anche le moderne Targa e cabrio continuano a convivere con qualche compromesso. Uno dei più noti riguarda i flussi d’aria nell’abitacolo. A tetto aperto, infatti, l’aria non sempre scorre in modo pulito sopra la cabina: spesso resta intrappolata nella zona posteriore, creando turbolenze, vortici e rumori che aumentano con la velocità. Un effetto ben conosciuto anche su vetture ad alte prestazioni.

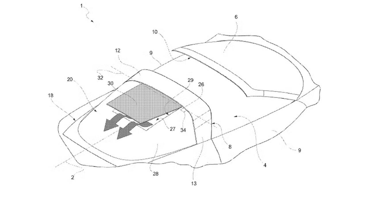
Ferrari starebbe ora lavorando proprio su questo punto, con un brevetto che punta a migliorare in modo concreto il comfort aerodinamico delle sue sportive aperte. L’idea è quella di sostituire le classiche superfici a rete utilizzate dietro i sedili con un flap mobile integrato al lunotto posteriore. Questo elemento avrebbe il compito di gestire in modo attivo il flusso dell’aria, indirizzandolo all’esterno dell’abitacolo prima che possa generare fastidiose turbolenze nella parte posteriore.
Se la soluzione della Ferrari dovesse arrivare davvero su un modello di serie, potrebbe rappresentare un passo avanti importante per il mondo delle spider e delle targa ad alte prestazioni. Perché il piacere di guidare a cielo aperto resta intatto, ma farlo con meno rumore e più comfort sarebbe un miglioramento che molti appassionati accoglierebbero molto volentieri.

