Da sempre i pistoni dei motori a combustione interna hanno avuto una forma rotonda. Le cose però potrebbe cambiare molto presto. Infatti Ferrari ha brevettato una nuova tecnologia che prevede pistoni di forma ovale che a quanto pare potrebbero davvero riscrivere il futuro dei motori a benzina che al momento rimane molto incerto nonostante l’apertura dell’UE che potrebbe revocare il loro divieto attualmente previsto per il 2035.
Ferrari ha brevettato una nuova tecnologia che prevede pistoni di forma ovale
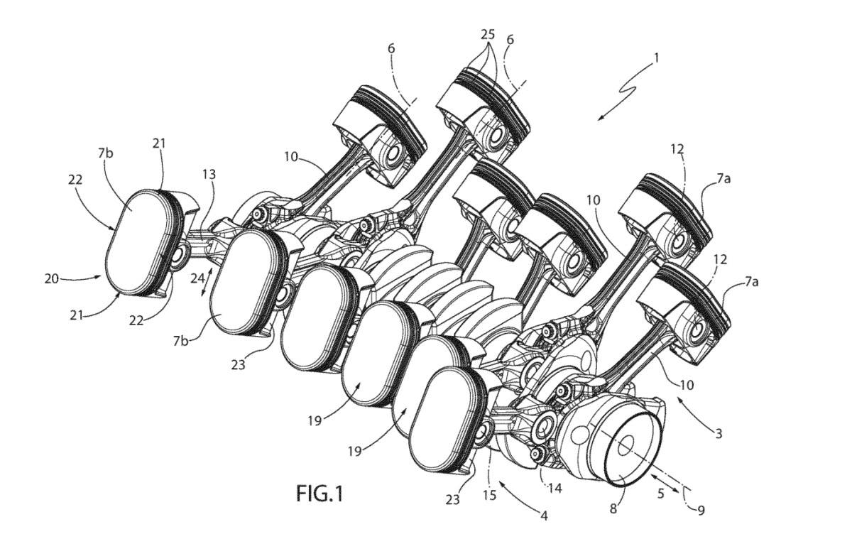
La domanda di brevetto europeo di Ferrari, pubblicata a marzo di quest’anno, propone qualcosa di diverso. L’azienda ha depositato la domanda di protezione per quello che gli ingegneri chiamano un pistone a forma di stadio o a forma di pillola. Invece della tradizionale forma cilindrica, questi pistoni sono ovali con lati allungati, oppure rettangolari con estremità semicircolari. Nulla dimostra quanto Ferrari prenda sul serio il futuro del motore a combustione interna più di una completa rivisitazione dell’architettura fondamentale del motore.
La grande innovazione di Ferrari riguarda l’orientamento dei pistoni ovali: il lato lungo di ciascun pistone è posizionato perpendicolare all’albero motore, permettendo al lato corto di scorrere parallelo ad esso. Questo schema riduce notevolmente la lunghezza complessiva del motore, un vantaggio cruciale soprattutto per i V12, tradizionalmente molto estesi.
Con pistoni ovali e bielle condivise tramite un sistema multi-link tra bancate opposte, Ferrari riesce a comprimere l’ingombro del motore mantenendo cilindrata e numero di cilindri invariati, aprendo anche la strada a possibili soluzioni ibride compatte.

Non è la prima volta che l’industria esplora pistoni ovali: Honda sperimentò negli anni ’70 e ’80 con il motore da corsa NR500, ma con orientamento diverso, parallelo all’albero motore. Il progetto Honda incontrò grandi difficoltà, soprattutto nel garantire tenuta e precisione delle fasce elastiche ad alti regimi, causando problemi di affidabilità che limitarono le prestazioni.
Con l’inasprirsi dei vincoli di packaging e l’aumento delle esigenze di efficienza, gli ingegneri devono trovare soluzioni creative per mantenere la potenza erogata senza dover costruire motori fisicamente ingombranti. Configurazioni esotiche come la W16 della Bugatti hanno affrontato questo problema attraverso ingegnose disposizioni dei cilindri , ma l’approccio della Ferrari affronta il problema a un livello ancora più profondo, ripensando il pistone stesso.
