Toyota knows it did not start strong in the electric segment. The bZ4X, its first next-generation model, did not match rivals such as Tesla, and the Japanese automaker acknowledged this early. Instead of stopping, Toyota kept working, updated the model and promised a completely new platform by 2028, more advanced in every area.
Toyota prepares next-gen EV platform for 2028 to solve space and efficiency issues

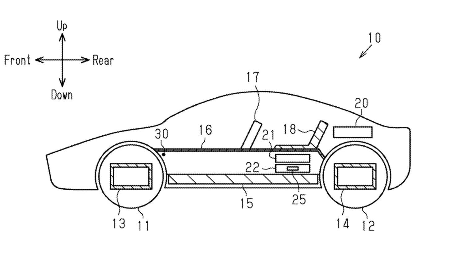
A recent leak tied to a patent filed in the United States offers an early glimpse of what Toyota is developing. The document tackles one of the toughest challenges in electric vehicles, interior space. Greater range requires larger batteries, but larger batteries reduce cabin room. This creates a cycle that many manufacturers address with compromises, such as added modules that raise rear seats and reduce comfort for second-row passengers.
Toyota is approaching the issue differently by rethinking the layout of components beneath the floor. According to the patent, the battery will remain under the floor as in most electric cars, while engineers will relocate part of the power electronics and other technical elements to the area between the front seats, without creating a traditional transmission tunnel. Toyota engineers say this setup brings several advantages. It protects sensitive components more effectively, shortens wiring and reduces overall vehicle weight. It also allows lower seat positioning, which improves the center of gravity and overall driving dynamics. Weight distribution should improve as well, enhancing stability and steering feel.

Toyota aims to build a modular platform that adapts to very different body styles without starting from scratch each time. Interior space may not create major challenges in SUVs, but lower and sportier vehicles require more careful packaging, and this patent appears designed to address that situation. The new architecture could also increase headroom and legroom in the second row and allow more flexible cargo management, two factors that could make a major difference in future family-oriented electric models.
As always with patents, no guarantee exists that all these solutions will reach production. Still, Toyota is trying to remove the compromises that currently make many electric cars less practical than they could be. If successful, its next generation of battery-electric vehicles could enter the market with a clear advantage over competitors.