Toyota explores unconventional solutions for future electric platforms, as shown by two patents filed in 2025 and recently published. The technical documents present an approach that moves away from the dominant layout based on a large battery pack integrated under the floor and introduces a more flexible distribution of the main electric-drive components.
Toyota reinvents EV platform withflexible battery and modular drive layout

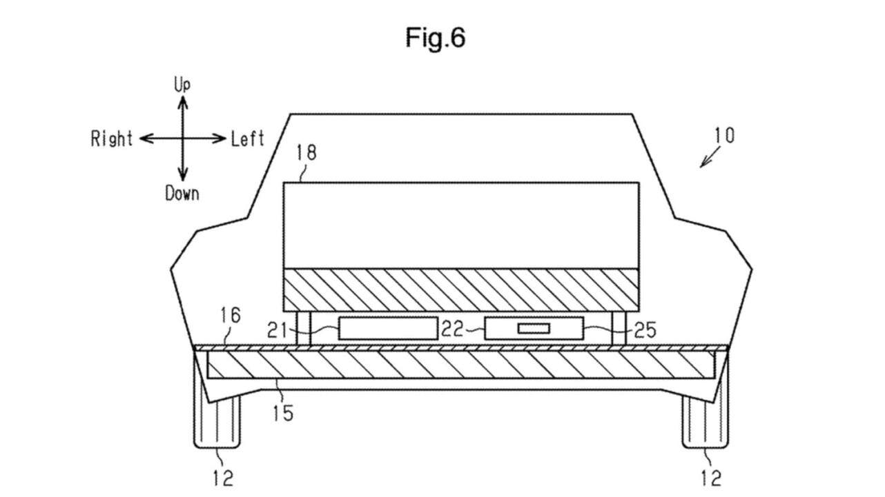
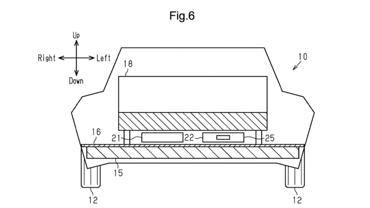
The concept separates battery, electric motors and power electronics into distinct functional units. Instead of concentrating everything in one area, Toyota proposes independent electromechanical modules that designers can place in different zones of the vehicle, such as on the axles or along a central tunnel. This layout reduces battery pack thickness and improves cabin and packaging management.
A slimmer battery under the floor frees valuable centimeters in height and gives designers more freedom to shape body proportions. This solution can lead to lower and more aerodynamically efficient electric vehicles without sacrificing interior space and cargo capacity. At the same time, the modular layout supports multi-segment platforms adaptable to different vehicle types, from compact cars to family SUVs, and streamlines industrial development.

One patent also outlines a different placement for some battery-related elements under the rear seat between the main pack and one drive unit. This configuration creates a more balanced mass distribution and improves dynamic stability and vehicle response. A better distribution of heavy components across the chassis optimizes road behavior and overall balance.
The proposed architecture also brings advantages in passive safety. Moving sensitive components away from the battery pack lowers exposure during an impact, while shorter wiring reduces overall weight and increases energy efficiency.

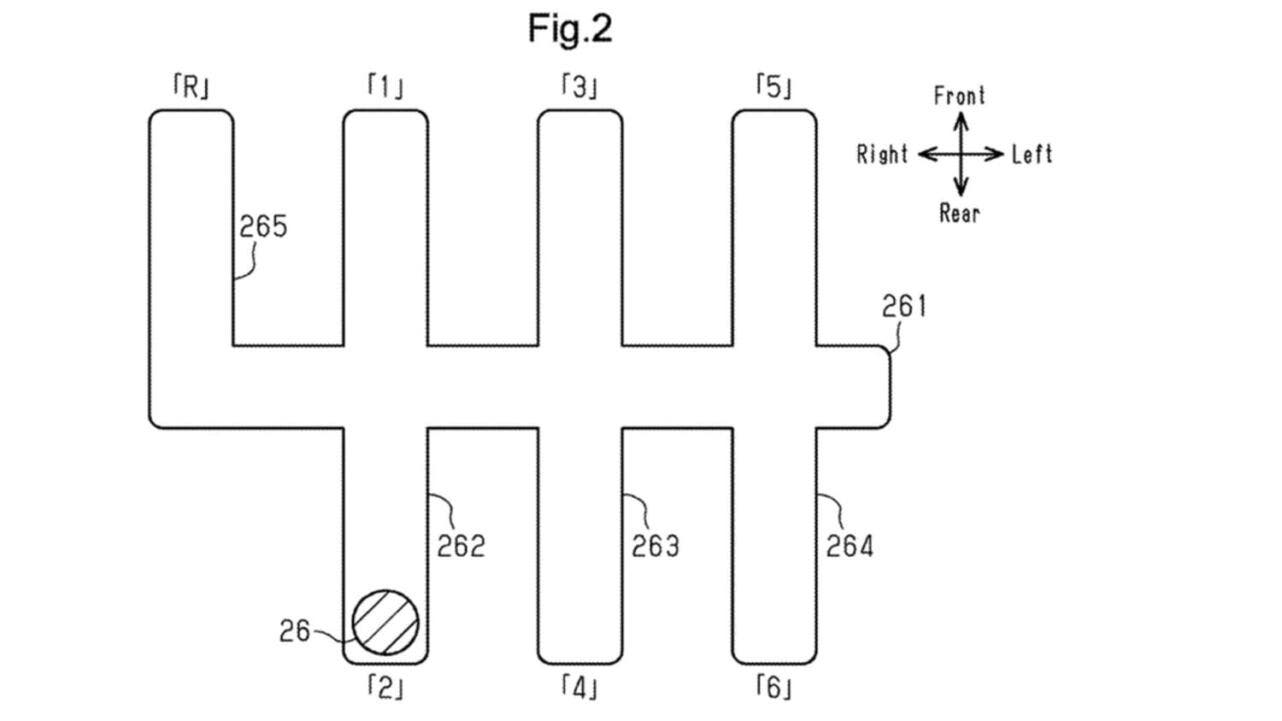
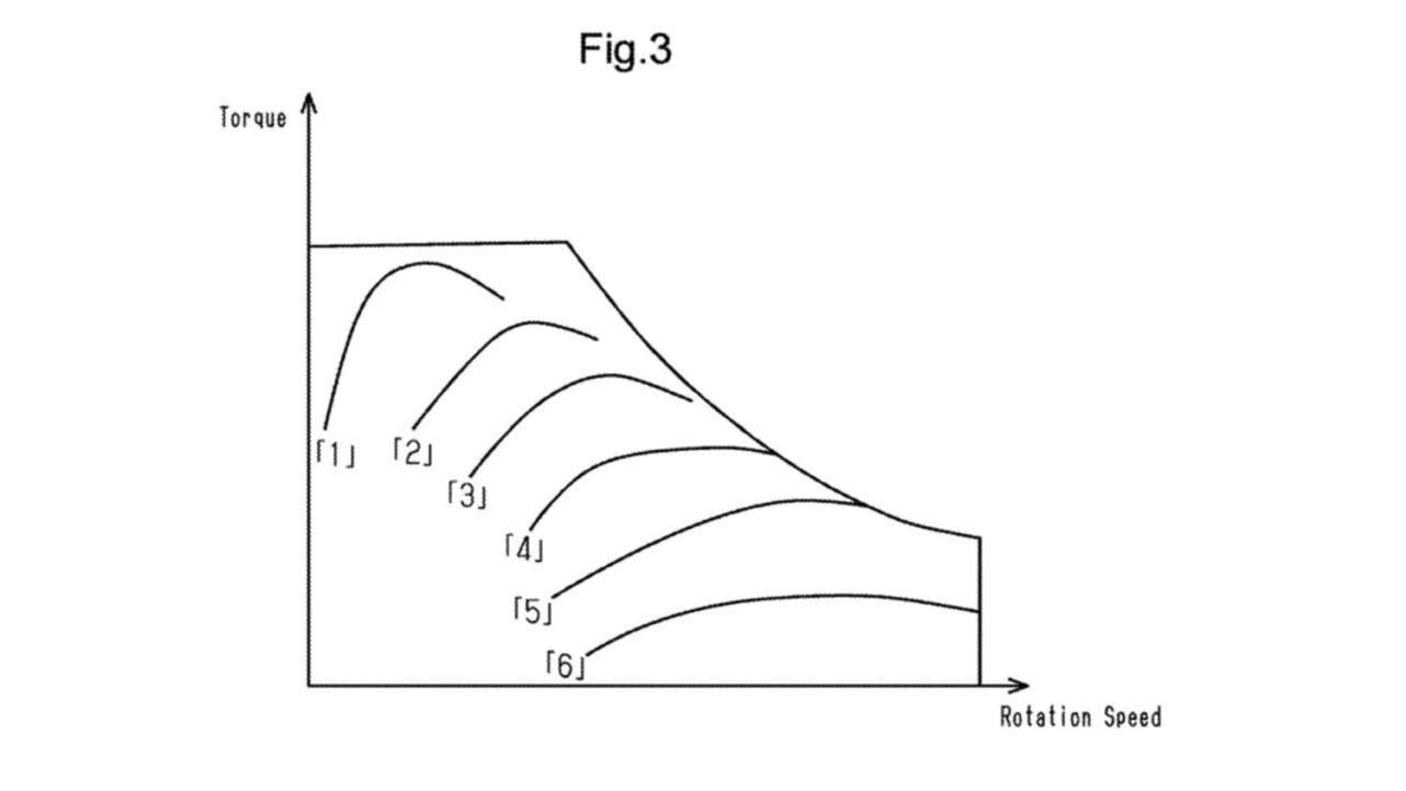
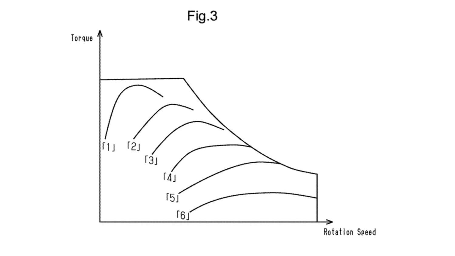
This development continues a technological path already started by Toyota, which holds strong experience in dual-motor layouts on electrified models. The documents also mention experimental systems such as a simulated manual gearbox for electric vehicles already tested on Lexus prototypes. Among the patent signatories appears Nanae Iwasaki, also involved in earlier research on intelligent charging management based on motor and inverter operating conditions, showing a strategy focused on optimizing architecture, efficiency and dynamics for the group’s future electric vehicles.