Hyundai Motor Co. and Kia Corp. are playing the long game. The South Korean duo has officially filed a patent in the United States, aptly titled the “Battery Storage Case”, that aims to transform EV safety from a reactive “hope for the best” strategy into a structural masterpiece. This technology could realistically hit the pavement within the next two years, and not a moment too soon for consumers who view every spark with lingering suspicion.
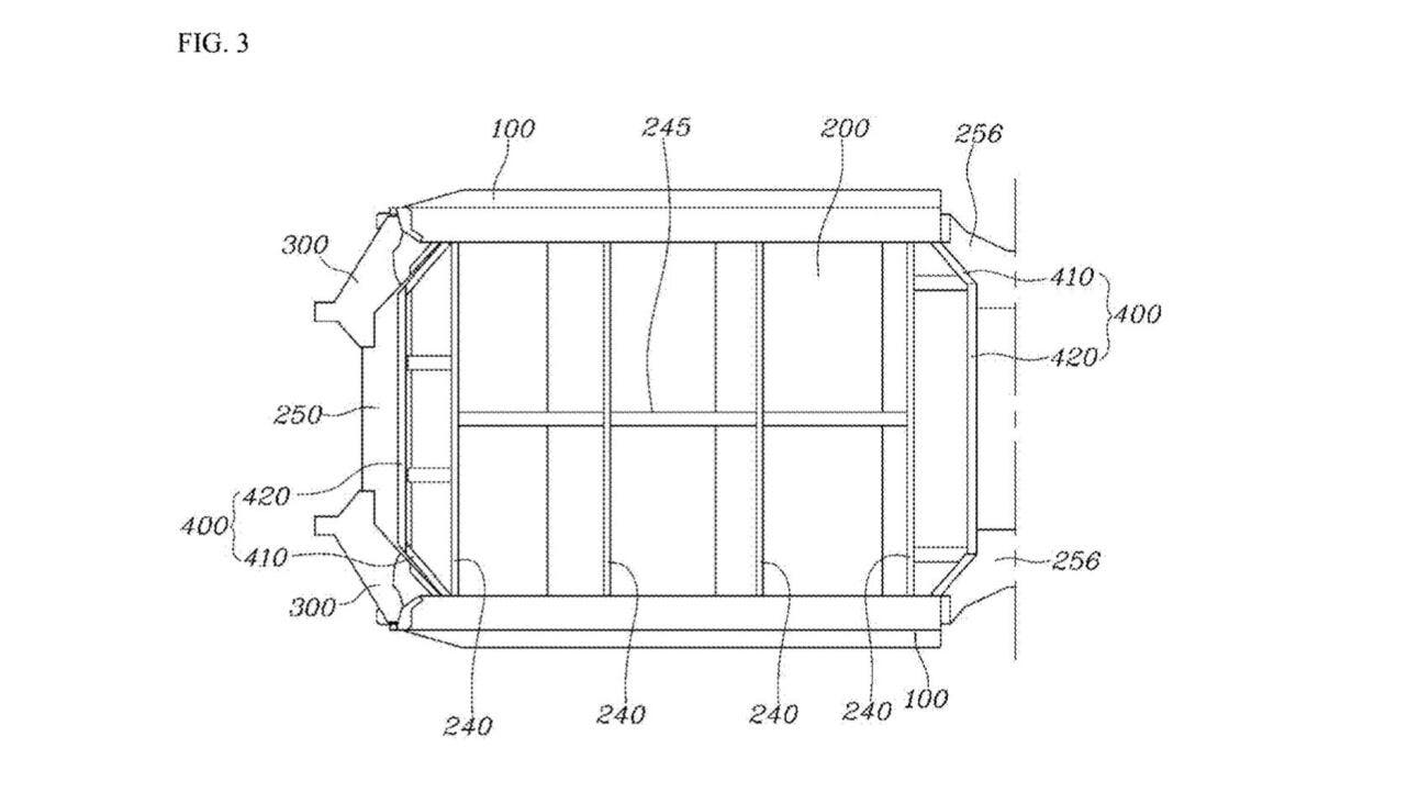
The genius of this design lies in its simplicity. It stops adding clunky safety gadgets and starts making the vehicle’s skeleton work harder. At its core is a grid-style cooling channel integrated directly into the lower battery container. Traditional systems often rely on one-way paths that leave certain corners of the pack to fester in their own heat, effectively turning specific cells into tiny, high-voltage ovens.

Hyundai and Kia’s new approach introduces intersecting sub-channels, allowing coolant to flow both horizontally and vertically. It’s essentially the automotive version of a multi-zone HVAC system, ensuring that no cell gets “too hot” during a long haul or a fast charge.
The system also reckon on the elimination of those flimsy, separate cooling plates. Historically, these multi-layer structures were notorious for failing under the stress of an impact. Exactly when you’d prefer your cooling system not to spring a leak. By integrating these channels directly into the lower case structure, the cooling system becomes a structural component. This doesn’t just boost thermal efficiency. It actually reinforces the chassis and helps distribute physical loads during a crash.

As regulatory pressure becomes increasingly suffocating and global markets demand better EV reliability, this move is a calculated attempt to reassure the public. If this project successfully migrates from a patent office desk to the assembly line, we might finally reach an era where we can stop wondering if our electric car is charging up for a commute or preparing an unauthorized barbecue.